Skip to main content

Alurkerja Untuk Analyst Dan PO

Flow Kerja Pengejaan Alurkerja

Untuk develop alurkerja kita mengunakan flow Generate First Then Edit makadariitu sebelum membuat aplikasi kita akan membutuhkan dua item yang perlu di finalkan sebelum bisa mengerjakan yaitu :

BPMN

Bpmn harus di siapkan karena kita melakukan generate api proses bisnis dari file bpmn yang di buat oleh analyst dan po , flow ini juga akan membantu analyst untuk mengyiapkan flow, tampilan dan sekenario testing aplikasi yang akan membantu kedepannya

Beberapa rule sederhana yang di butuhkan untuk memulai pembuatan bpmn yang akan di gunakan agar mempermudah generate api dengan alurkerja

Standar Naming Process Definition , Sttart Process dan User Task

NoItemStandard Naming
1File BPMNSama dengan nama id process definition key nya. Misalkan id process Leave maka nama file BPMN adalah Leave.bpmn diletakkan di folder resources
2Process Definition KeyGunakan format TitleCase (Huruf depan besar, sisanya kecil). Contoh : Leave Approval SampleProcess PengoejuanCutiPegawai
3Task Definition KeyGunakan format camelCase, diisi dengan kata kerja/kata benda. Contoh: review fix headApproval

Standar Decision

picture 0

NoItemStandard Naming
1IDNama id sequence flow distandarisasi dengan format : {taskDefinitionKey}.{decision}. Contoh: fix.ok review.fix review.rejected
2NameNama Dari flow yang di harapkank seperti Diterima Oleh Admin , Rejected Oleh Admin yang akan di gunakan pada decision remark
1DecisionGunakan Expression
1Condition ExpressionGunakan Variable sesuai context contoh approval-admin approval-guru dengan menggunakan Kebabcase dengan menggunakan string jangan menggunakan boolean , contoh${approval-admin=="tolak"} atau ${approval-admin=="terima"}

Standar Service Task

picture 1

NoItemStandard Naming
3IDGunakan format camelCase, diisi dengan kata kerja/kata benda. Contoh: review fix headApproval
3ImplementationGunakan Extenal jika menggunakan laravel karena laravel akan menggunakan tapic bukan menggunakan class , dan jika menggunakan java maka menggunakan delegate expression / java class
3TopicTopic mengunakan camelCase, diisi dengan kata kerja/kata benda. Contoh: review fix headApproval

Standar Lane

picture 2

lane atau biasa di gunakan sebagai pemisah role silahkan di beri name dengan role yang bersangkutan dan untuk id berikan isi dengna menggunakan UPPERCASE_ contoh SATGAS_PENYELIDIKAN

ERD Database

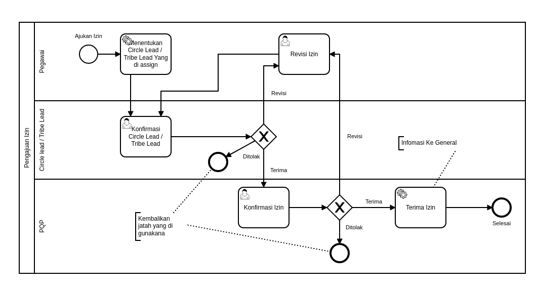
untuk erd database bisa dibuat mengunakan db diagram https://dbdiagram.io/ dengan beberapa rule yaitu 1 Process Definition harus memiliki 1 table dan setiap user task harus memiliki 1 table juga

picture 3

contoh dengan bpmn diatas maka akan ada 4 table diantaranya

picture 4

pada table table di atas terdapat 2 standar yaitu standar process instance dan standar usertask

Process Instance / Start Process

Digunakan untuk untuk start process

picture 6

Table name diambil dari participantId yang di convert menjadi snake case dengan hasil pengajuan_izin_pegawai

picture 9

Field Standar yang harus di miliki sebagai berikut

  • id (int, uuid)
  • process_instance_id (string)
  • deleted_by(int, uuid)
  • updated_by(int, uuid)
  • created_by(int, uuid)
  • updated_at(date time)
  • created_at(date time)

Usertask

Digunakan untuk usertask

picture 7

Table name diambil dari participantId ditambah dengan usertaskid yang di convert menjadi snake case dengan hasil pengajuan_izin_pegawai_konfirmasi_izin

picture 10

Field Standar yang harus di miliki sebagai berikut

  • id (int, uuid)
  • business_key (int, uuid)
  • created_by (int, uuid)
  • updated_by (int, uuid)
  • deleted_by (int, uuid)created_at
  • (date)updated_at (date)

Pada usertask perlu ditambahkan field yang akan di jadikan variable sehingga decision yang di kirim ke camunda bisa di log dengan menggunakan activity log dengan

Berikut contoh kasus jika setelah usertask tersebut memiliki decision / gateway silahkan tambahkan variable yang di gunakan pada gateway tersebut ke field usertask

picture 11

Pada gambar di atas setelah konfirmasi circle lead masuk ke decision dimana decision tersebut mengguakan konfirmasi_izin_tribe sebagai condition expressionnya sehingga field konfirmasi_izin_tribe harus di masukan ke field table pada erd